 
 LHY硫磺液下泵【液硫泵】
LHY硫磺液下泵適用于各種規模的硫磺制酸工藝流程中輸送130-158度的液體硫磺。也適用于其他需要小流量,高揚程的化工流程。LHY液硫泵由于揚程特高,流量特小,比轉數特低,已不可能用離心泵的型式來達到性能要求,用旋渦泵則在運轉過程中性能不穩定,故采用全新的技術進行不力設計,具有普通離心泵,旋渦泵所不具備的特殊優點。液硫泵泵流量在很大范圍內變化時,泵的揚程始終保持不變。這一特點特別適用于要求泵具有自調特性的化工流程。
概述
LHY硫磺液下泵結構特點
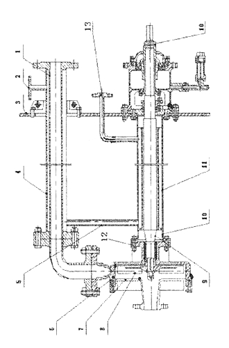
   1.本系列泵是一種立式保溫液下泵。泵的出液管從泵體,前泵蓋均設有蒸汽或導熱油保溫夾套。
   2.本系列泵主要由泵體,葉輪,前泵蓋,泵軸,彎管,出液管,中間接管,底板及軸承箱,電機座等零部件組成。
   3.本系列泵的葉輪為星形結構。其結構簡單,制造方便。葉輪開平衡孔以平衡軸向力,軸向力基本上可以認為完全平衡掉,為泵的運轉有很大的好處。
   4.本系列從電機端看為逆時針旋轉達。
   5.本系列泵安裝尺寸可以根據客戶的使用要求定做。
應用范圍
性能范圍:
     流量:0.2-10m3/h
     揚程:40-120m
     轉速:2900r/min
     適用溫度范圍:t<=200度,如采用特殊的制造技術,適用溫度可提高到550度。
結構簡圖

型號意義
例如:LHY-1/80
         LHY-系列代號
         1-泵的流量(m3/h) 80-泵的揚程(m)
性能參數表

適用范圍
硫磺制酸是我國硫酸工業的重要發展方向之一,小流量,高揚程的液硫泵是硫磺制酸的關鍵裝備,為了適應這一形勢發展的需要,在有關設計院所,大專院校專家及本廠職工的共同努力下,我們開發出LHY系列立式液硫泵。
LHY保溫液硫泵結構簡單,維護方便,運行平穩,性能穩定。
本系列泵在輸送液體硫磺時,采用1Cr18Ni9Ti材料制造,當使用于其它化工流程時,可用下述材料制造:
     304(0Cr18Ni9) 316(0Cr18Ni12Mo2)
     1Cr18Ni12Mo2Ti 316L(00Cr18Ni12Mo2)
     CW-2(CD4MCU) J-1(UB-6)
本泵在輸送液體硫磺及其它易燃介質時,一般采用YB系列防爆電機,亦可根據用戶要求選配其它類型的電機。


